丝瓜视频看污污,丝瓜视频免费观看,丝瓜色版APP,丝瓜视频污黄色免费下载

欢迎访问上海丝瓜视频看污污自动化仪表有限公司官网!

上海丝瓜视频看污污自动化仪表有限公司

上海丝瓜视频看污污自动化仪表有限公司

——丝瓜视频免费观看蝶阀 丝瓜视频免费观看球阀 丝瓜视频免费观看执行器 丝瓜色版APP执行器 丝瓜视频免费观看阀门 丝瓜色版APP阀门厂家 ——

全国服务热线

021-66512385
13917586261
搜索关键词:
  • 电液执行器
  • 深海电液执行器

    来源:上海丝瓜视频看污污阀门科技有限公司   作者:丝瓜视频免费观看蝶阀球阀执行器厂家   点击量:1589

    品牌:上海丝瓜视频看污污
    驱动能源: 电液执行器
    型号: FDQ系列
    标准: 国标
    压力环境: 常压
    加工定制: 是
    产品用途: 石油、化工、电力、能源、船舶、冶金、建材、造纸、锅炉设备
    联系客服 13917586261

    深海电液执行器产品详情

    【产品概述】

           深海电液执行器具有行程大、推力或力矩大、智能化程度高、响应时间快、灵敏度高、机构紧凑、防火等特点。带智能模块,能实现自动回转功能,自带超负荷安全保护,可在现场/远程进行阀门开、关操作,可选择调节型以及开关型控制模式,现场带电液阀门开度显示以及全开全关位置指示,故障报警指示等功能。本系列执行机构为90度角行程类型,双作用齿条油缸推动齿轮摆动。


           智能型深海电液执行器由支架,双作用齿轮齿条执行机构、液压动力源和电气控制系统组成。 其中液压动力源包含电机泵组以及手动泵。

    表1 DN900蝶阀深海电液执行器参数表
    型号FDM62014-500 5000NM
    1产品类型智能型角行程深海电液执行器
    2工作扭矩100-8000 N.M(@8.5MPa)
    3上限扭矩8000 N.M(@14MPa)
    4行程角度0~90°
    5启闭时间约22S
    6防护等级IP67
    7动作类型调节型
    8电机电制及功率380VAC,50Hz ,750W
    9电机转速2800 r/rev
    10油泵排量0.88cc/rev
    11油泵额定压力8.5MPa
    12油泵上限压力16MPa
    13油缸直径及工作行程缸径100 mm,行程123mm
    14工作容腔966 ml
    15输入信号类型4 mA ~20mA,对应0-100%开度
    16输出信号类型4 mA ~20mA,对应0-100%开度
    17就地电气接口2个M25×1.5格兰头
    18带手动操作10cc/按,21MPa,启/闭满行程按压31次

     

           ●电机:三相交流电机,带温度过热保护,750W,2800rpm;

           ●油路块:采用航空铝合金6061材质加工,黑色硬质阳极氧化表面处理,表面硬度高且耐腐蚀;

           ●油泵:双向齿轮泵,排量0.8cc/rev,上限压力16MPa,上限转速4000rpm,集成双向的补油单向阀;


    双向齿轮泵液压原理图
    图1 双向齿轮泵液压原理图
     

           ●溢流阀:调定系统压力,出厂时已设定,具体根据现场阀门情况调整,可避免开启/关闭力过大损坏阀门;


    开阀/关阀压力调节溢流阀
    图2 开阀/关阀压力调节溢流阀
     
           调节时,先松开锁紧螺母,用5mm内六角扳手转动调节杆,顺时针旋入,压力升高,每转压力升高约3MPa;逆时针旋出,压力降低,每转压力降低约3MPa;

           注:执行机构已调定为行程限制模式,到开启/关闭上限行程后电机停止转动,正常情况下溢流阀不会开启溢流;若发现阀门开启/关闭时(未到达极限位置),在中间位置无法正常开启/关闭,则按照上面说明调高溢流阀压力,阀门即可实现开启/关闭;

           手动泵及手动阀:手动泵10cc/行程,紧急情况下,可以通过手动泵,来推动执行机构动作。通过旋转手动阀,切换油路方向,实现阀门手动开启/关闭。

    【双作用齿轮齿条执行机构】
     
    双作用齿轮齿条执行器
    图3 双作用齿轮齿条执行机构

     
           齿轮齿条执行机构缸筒两侧设置有机械限位调节杆,用于防止误动作导致执行机构开启/关闭阀门超越位置,防止阀门卡死。其中,面对执行机构时,右侧为关阀门限位调节螺钉,左侧为开阀门限位调节螺钉;
     
           注:左右两侧机械限位调节螺钉,在出厂时已调定好,不建议用户调节(调节不当可能会引起漏油风险);若发现开阀和关阀不到位调节时,先用内六角扳手固定调节杆,用扳手拧松密封螺母,然后旋转调节杆。旋转完成后,保持调节杆位置不变,拧紧密封螺母。
     

    【电气控制系统】

           一、就地电气控制系统

     
           就地电控系统,具有非侵入免开盖操作,死区自适应不振荡,故障自诊断及保护功能,现场操作点动和保持自适应,远控信号和阀位信号实时查询等功能,集成有伺服控制单元、液晶显示单元、旋钮操作等单元,操作简单,保护功能完善,界面可读性强。


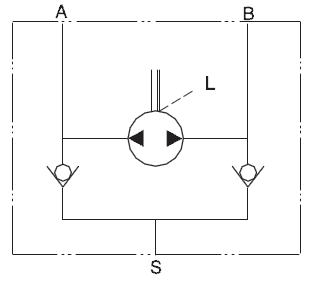
           二、接线图

    就地接线盒
    图4 就地接线盒

    表2 接线端子定义表

    接线端子代号接线方法备注
    L1,L2,L3三相380V AC不分相序,内部自动校正
    2常闭触点,异常报警时断开
    系统报警信号:
    ●油位过低;
    ●电机过热;
    报警时显示屏显示FE
    3报警公共端
    27,284-20mA比例控制信号  
    13,144-20mA比例反馈信号  

    注:使用时需要接地!可以通过接线盒盖上的固定螺钉进行接地。

           三、电气操作
     
    就地电气控制盒
    图5 就地电气控制盒
     
           【友情提示】上海丝瓜视频看污污自动化仪表有限公司专业生产销售各类丝瓜视频免费观看蝶阀、丝瓜视频免费观看球阀、丝瓜视频免费观看闸阀丝瓜视频免费观看阀门、丝瓜视频免费观看执行器、丝瓜色版APP执行器、丝瓜色版APP阀门、气动阀门,上海丝瓜视频看污污秉承“诚信为本,客户至上”的企业宗旨,专业为您提供规格型号齐全、质量稳定、价格合理的深海电液执行器产品,欢迎前来咨询报价。
     

    【生产环境】

    深海电液执行器生产环境

    【企业资质】
     
    深海电液执行器企业资质
    温馨提示
     
    电液联动执行器  |  没有了
    微信二维码 微信二维码
    联系丝瓜视频看污污

    电话:021-66512385
    手机:13917586261
    Q Q:804815409
    邮箱:vodn@jsqzr.com
    联系地址:上海市闸北区柳营路669弄17号

    Copyright © 2020-2022 上海丝瓜视频看污污自动化仪表有限公司 版权所有     主营:丝瓜视频免费观看蝶阀、丝瓜视频免费观看球阀、丝瓜视频免费观看执行器、丝瓜色版APP执行器、丝瓜视频免费观看阀门、丝瓜色版APP阀门、气动阀门

    备案号:沪ICP备20127266号-1

    网站地图


    网站地图